
直排篩可有效解決雜質較少的粉末、顆粒類物料除雜,篩分產量大,物料可自動排出!

直排篩也叫直排式振動篩,振動篩分機的一種,是帶有雙電源驅動的篩分機,使物料在篩面上產生渦旋運動,具有自動排料功能,主要用于粉體生產線工藝流程中的粉體的除雜,篩松作用。

直排篩采用直卸式出料口結構設計,物料從篩面中部垂直直下排出,無需拐彎分流。整機結構緊湊,上下貫通無死角,進料后快速分級、直落出料,下料速度快、不易積料堵網,可單層分級除雜,占地小、產量大、能耗低,拆裝清理便捷,能夠直接對接上下游設備進行連續式工作。
直排篩按照振動源可劃分為兩種:
雙電機直排篩:雙電機,物料在篩網表面產生漩渦運動,有自動排料功能;
單電機直排篩:單電機,物料在篩網表面主要產生上下振動,無自動排料功能。








直排篩利用振動電機利用其軸上下端的兩組偏心塊(不平衡偏心塊)的相位角以及兩臺電機之間的交叉角度將振動電機的旋轉運動變為水平、垂直、傾斜以及離心作用的多作用力重疊,再將這種作用力傳遞給篩面,從而達到篩分的目的。改變上下偏心塊的相位角和重量,可以改變激振力的大小和物料的運動軌跡。由于設備底部是直排式設計,過篩后的物料排出更順暢,在物料粗篩應用中,比同等直徑的圓篩擁有更高的通過量。

進出料口設計在同一垂直方向,篩下成品快速過網,減少物料在篩面停留時間,產量是圓形振動篩的2-5倍。
可以直接串聯在管道中使用,除去管道中的異物和雜質,無需人工操作,避免物料二次污染。
部件無衛生死角,易清洗消毒,符合食品、醫藥行業規范。
密封嚴謹,粉末不飛揚,液體不泄露。
根據現場需求設單雙激振源,產能自由掌控。
可單層、多層使用,一次多級篩選。
其突出特點是:物料在篩機中停留時間短,出料迅速,安裝工位低。

7、獨有的方箱結構網及網架設計,提升篩網耐用度,換網快捷,拆裝方便,使換網問題5分鐘內完成;
| 型號 | 功率(mm) | 篩面直徑(mm) | 有效面積(㎡) | 體積(mm) |
| ZPS-600 | 0.12 | 520 | 0.2124 | 740*600*500 |
| ZPS-800 | 0.18 | 720 | 0.4072 | 1010*800*600 |
| ZPS-1000 | 0.18 | 890 | 0.6221 | 1200*970*640 |
| ZPS-1200 | 0.25 | 1090 | 0.9331 | 1430*1170*790 |
| ZPS-1500 | 0.55 | 1390 | 1.5175 | 1780*1470*760 |

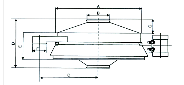
| 型號 | A | B | C | D | E | F | G |
| ZPS-600 | 600 | 150 | 380 | 560 | 325 | 120 | 80 |
| ZPS-800 | 800 | 200 | 540 | 600 | 350 | 125 | 90 |
| ZPS-1000 | 970 | 250 | 640 | 640 | 350 | 150 | 100 |
| ZPS-1200 | 1170 | 250 | 700 | 700 | 400 | 180 | 120 |
| ZPS-1500 | 1470 | 250 | 760 | 760 | 440 | 200 | 120 |

多用于面粉、淀粉、洗衣粉、金屬粉、添加劑、化工、非礦等行業的顆粒粉末的粗略篩分、精密篩分,處理量大、易與生產線結合。可在600MM至1800MM之間選擇。


新鄉市大漢振動機械是一家集研發、設計、制造、銷售于一體的專業化篩分設備源頭企業,篩網直徑 400-2000mm 可選,提供有304/316 不銹鋼或碳鋼材質,設備篩分精度高、處理量大、防堵網性能好,可快速完成粉體顆粒除雜、分級作業。從物料試機、方案設計到生產制造、安裝調試,提供全流程定制化服務。我們堅持 “品質為本、客戶至上”,以先進技術、嚴謹管理和完善售后,為客戶提供優質篩分設備與解決方案。
關鍵詞:直排篩

